Cảm biến SV4150
Cảm biến SVM12XXXD0KG/US-100
Cảm biến lưu lượng SV4150
đại lý SV4150
nhà phân phối SV4150
Đặc tính sản phẩm
| Số lượng đầu vào và đầu ra | Số lượng đầu ra tương tự: 1 | ||
|---|---|---|---|
| Phạm vi đo |
|
||
| Kết nối quá trình | threaded connection G 1/2 DN8 |
Ứng dụng
| Tính năng đặc biệt | Gold-plated contacts | |
|---|---|---|
| Yếu tố đo lường | 1 x Pt 1000; (to DIN EN 60751, class B) | |
| Ứng dụng | for industrial applications | |
| Installation | connection to pipe by means of an adapter | |
| Phương tiện truyền thông | water; glycol solutions; coolants | |
| Nhiệt độ trung bình [°C] | -40…100 | |
| Min. bursting pressure [bar] | 25 | |
| Min. bursting pressure [MPa] | 2.5 | |
| Định mức áp suất [bar] | 12 | |
| Định mức áp suất [Mpa] | 1.2 | |
| Note on pressure rating |
|
Dữ liệu điện
| Điện áp hoạt động [V] | 8…33 DC |
|---|---|
| Min. insulation resistance [MΩ] | 100; (500 V DC) |
| Lớp bảo vệ | III |
| Thời gian trễ bật nguồn [s] |
Đầu vào/ra
| Số lượng đầu vào và đầu ra | Số lượng đầu ra tương tự: 1 |
|---|
Đầu ra
| Tổng số đầu ra | 1 |
|---|---|
| Tín hiệu đầu ra | analogue signal |
| Số lượng đầu ra tương tự | 1 |
| Analogue current output [mA] | 4…20; (Q [l/min] = 0,938 x (I – 4 mA)) |
| Max. load [Ω] |
Dải đo/cài đặt
| Phạm vi đo |
|
|---|
| Internal heating temperature probe | 1 K/mW |
|---|---|
| Phạm vi đo [°C] | -40…100 |
Độ chính xác / độ lệch
| Độ chính xác (in the measuring range) | Q 50 % MEW: |
|---|---|
| Độ lặp lại | 0,2; (% of the final value) |
| Độ chính xác [K] | ± 0,3 ± 0,005 x T |
|---|
Thời gian đáp ứng
| Thời gian đáp ứng [s] | 0.5 |
|---|
Điều kiện hoạt động
| Nhiệt độ môi trường [°C] | -15…85 | |
|---|---|---|
| Note on ambient temperature |
|
|
| Nhiệt độ bảo quản [°C] | -30…85 | |
| Sự bảo vệ | IP 65 | |
| Cavitation | P(absolute) discharge / P(difference) > 5.5 to avoid cavitation |
Thử nghiệm / phê duyệt
| EMC |
|
||||
|---|---|---|---|---|---|
| Chống sốc |
|
||||
| Chống rung |
|
||||
| MTTF [years] | 380 | ||||
| Pressure Equipment Directive | Sound engineering practice; can be used for group 2 fluids; group 1 fluids on request |
Dữ liệu cơ học
| Trọng lượng [g] | 65 |
|---|---|
| Vật liệu | PA 6T |
| Vật liệu (wetted parts) | ETFE; PA 6T; EPDM |
| Tightening torque [Nm] | 12 |
| Kết nối quá trình | threaded connection G 1/2 DN8 |
Chú thích
| Chú thích |
|
||
|---|---|---|---|
| Số lượng đóng gói | 1 pcs. |
Kết nối điện
| Kết nối | Connector: 1 x M12; coding: A; Contacts: gold-plated |
|---|
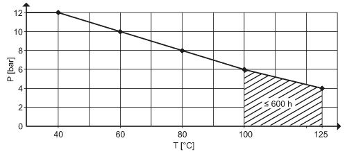
Diagrams and graphs
Pressure loss
|
|
|---|
min. life 10 years referred to flow and high medium temperatures
|
|
|---|
pressure rating (bar)
|
|
|---|



